為推動高質量創新發展、打造核能新質生產力,由中國能源研究會、中國廣核集團有限公司聯合中核集團、國家電投、中國華能、中國大唐、國家能源集團共同主辦的“2024第三屆中國核能高質量發展大會暨深圳國際核能產業創新博覽會”(以下簡稱“深圳核博會”),將于11月11-13日,在深圳會展中心(福田)隆重召開。

本屆深圳核博會將延續往屆高標準、大規模、高規格特點,持續打造世界一流核展,展出面積60,000平方米,海內外參展商超600家,覆蓋全球最前沿的核科技創新成果以及完整的核電產業鏈。大會同期還將舉辦近20場產業、應用、國際及學術論壇,涵蓋先進裝備與產業鏈、先進建造、在役檢查、智慧運維、冷源安全、先進核材料、環保技術、數字化、安全生產績效、核技術、先進核能等領域,匯聚萬余位行業同仁,共商核能高質量發展大計,共繪核電可持續發展藍圖,為中國乃至世界核電產業的高質量發展匯聚行業智慧。
作為本屆深圳核博會重要展商,河北騫海鼓風機有限公司將攜帶一系列高新產品和應用方案震撼亮相。展位位于2號館N15號展位,歡迎蒞臨交流。
公司簡介
河北騫海鼓風機有限公司始建于2010年,注冊資金1億元人民幣。位于河北省張家口市宣化開發區宣府大街196號。公司占地110800平方米,建筑面積63000平方米,生產面積5萬平方米。
現有在職職工212人,其中高級工程師7人、工程師10人、民用核安全設備焊接人員9人,特種設備焊接人員22人,民用核安全設備無損檢驗人員7人,特種設備無損檢驗檢測人員12人。
公司主要從事核級風機、金屬包裝運輸容器(核化工)、壓力容器、核化工后處理非標設備設計及制造,目前已取得民用核安全設備設計及制造許可證(風機)、壓力容器制造許可證、輻射安全許可證,是中核集團合格供應商、中國核電工程有限公司4A供應商、中核四川環保工程有限責任公司優秀供應商。
公司通過了ISO9001質量管理體系認證、ISO14001環境管理體系認證、ISO45001:2018職業健康安全管理體系認證,及GJB9001C武器裝備質量管理體系認證。
公司為專精特新小巨人企業、高新技術企業、河北省風機裝備研發中心,中國通用機械工業協會風機分會理事單位及重點聯系企業,中國核安全與環境文化促進會第三屆理事會會員單位,并榮獲全國重合同守信用AAA品牌企業、全國最具影響力百強誠信企業、優秀民營企業等榮譽稱號。
公司主營產品與技術特點
(1)核級工藝風機
【設備分級】:安全分級:放化安全級(RS) 抗震類別:I類(1A) 質保等級:QA2
【產品型號】:GYFJ №7.7
【氣動性能】:風量:1300m3/h;全壓:48000Pa;介質密度:ρ=0.675kg/m3
【設計壽命】:風機非易損部件設計壽期不小于20年,風機在正常工況和設計基準事故工況下均能連續運行時間不小于12個月(每天24小時)。
【耐輻照】:所有非金屬部件確保在累計放射性劑量1×104Gy條件下仍能保證其功能。
【材料】:接觸介質部件采用特種不銹鋼材質,在常規不銹鋼中增加Ti成分,提高抗腐蝕性能。
【其他】:葉輪和蝸殼內腔進行特殊氣動和流線型流道設計,整體采用五軸數控加工中心加工而成,葉輪和蝸殼裝配間隙達到毫米級別。
【系統功能】:核級工藝風機的主要功能是為工藝尾氣處理系統提供一定的負壓,使整個系統維持一定的負壓狀態,限制放射性氣體從設備或者管道等部件泄漏到設備室內。
【安全功能】:核級工藝風機的安全功能是為相應系統提供負壓,保證系統內放射性物質的包容,要求風機在正常工況和設計基準事故工況下均能長期有效運行。
【鑒定及應用】:GYFJ №7.7核級工藝尾氣風機于2023年4月在地震工程國際合作聯合實驗室上海同濟大學鑒定通過,獲得第十一屆國際流體機械展金獎。
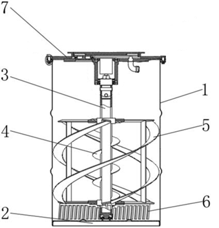
(2)棄槳桶內攪拌專用桶
主要用于中低放射性粉灰狀物料的水泥固化處置。具有操作簡便、使用場地靈活、操作過程中安全易防護等優點。
本產品屬于混凝土生產技術領域,是將中低放射性粉灰狀物料通過加料口加入攪拌桶,再加入混凝土及添加劑,攪拌均勻后連帶攪拌裝置一起凝固,從而避免放射源外泄的污染情況發生。主要零部件包括:槳桶(序號1);桶底(序號2);傳動桿(序號3);內螺旋槳葉(序號4);外螺旋槳葉(序號5);梳齒板(序號6);桶蓋(序號7)。本產品通過在槳桶上加設內螺旋槳葉、外螺旋槳葉與梳齒板等結構,在轉動時可以通過內螺旋槳葉對原料進行順時針攪動,外螺旋槳葉可以對原料進行逆時針攪動,在兩個槳葉進行雙向攪動的過程中可以使得原料混合更加均勻,并且可以通過梳齒板防止原料沉底。攪拌完成后使其自然凝固,按核廢料后處理程序統一管理。
實用新型專利產品名稱:一種棄槳桶內攪拌專用桶,專利號202121515963 .7。

公司榮譽
2023深圳核博會現場
11月11日-13日,第三屆中國核能高質量發展大會暨深圳國際核能產業創新博覽會“核”您相約,共聚鵬城!河北騫海鼓風機有限公司將歡迎各位屆時蒞臨展位咨詢洽談。
大會組委會電話:
010-67808008/010-68808008


